Views: 577 Author: Site Editor Publish Time: 2021-06-21 Origin: Site
As China famous lifeboat davit manufacturers, New Marine has professional single arm davit information. This article introduce the installation and adjustment of single-arm davit.
If lack of experience, the following procedures are proposed:
1. Check the accompanying documents and drawings of the equipment to be installed. Understand the structure, size, and relationship of each part of the equipment. Check whether the storage condition of the equipment is good, check the accessories, and identify the left and right machines.
Notice: After the equipment arrives at the shipyard, it should be kept properly to prevent it from being exposed to wind, rain, and humidity. Regular inspection and maintenance (recommended interval no more than 3 months) should be carried out to prevent corrosion and loss of internal and external parts of the device.
2. Draw the correct installation position of the davit on deck according to the general arrangement drawing provided.
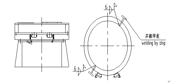
3. Cut off the davit base according to deck pitch (the frame should be the vertical position when vessel on even keel), then weld it onto the deck.
4. Pass the power cord through the base, through the slewing bearing, the slewing disk, and the cable hole of the electric control box.
Note: About 1m cable margin should be left for slewing.
5. According to the requirements of the slewing position of the appliance, determine the position of the limit stoppers and fix the limit stoppers.
6. Check and lubricate the lubrication points on the single arm davit, and add mechanical lubricating oil to the reduction box of the hoisting mechanism. (type: N68, oil capacity: 30L)
7. Check and clean the oil tank, and filling the hydraulic oil. (type: L-HV46,oil capacity: 80L)
8. After installed the appliance, the appliance can’t be used immediately. It should be inspected and adjusted all-around (note: the appliance should be inspected and adjusted also after repair.)
1) Click the lifting button first and observe whether the reel of the lifting mechanism is rotating. If the reel does not rotate, the power connection should be changed until it can work correctly.
2) After taking the manual handle out, the electric motor of the hoisting mechanism shall be unable to start under the action of the interlocking switch.
3) Check electrical slewing, shut off stop valve (No.1 and No.2) (see attached diagram). Operating the remote control button, and then realize electric left or right turn. Its turn direction should be the same as the mark on the button.
4) Check accumulator slewing, open the valve (No.1), pull the slewing remote control rope, which should be able to achieve slewing by accumulator-driven (only one way).
5) Pulling the gravity-lowering remote control rope, spreader (after lifting) should be able to lower.
6) Charge pressure for the accumulator, open the stop valve (No.1), start the pump. After running normally, operating the charge pressure button on the electrical control box to charge pressure for the accumulator till 20MPa. Then shut off the stop valve and stop the working of the pump station.
If you want to know more information, please contact us!
No.211 Shangyang Road,
Dongqian lake Industry Park,
Yinzhou District, NingBo, China
Phone: 0086-574-55227898